
Pura80业界首创一镜双目长焦 开启手机影像新纪元!近年来,手机影像技术取得了显著进步,旗舰手机的拍照性能已经接近小型数码相机。算法的进步和硬件性能的提升传金所配资,特别是更大传感器和更优秀的长焦设计,使得手机在各个焦段的表现都有了明显改善。

主摄传感器的发展空间逐渐受限,许多厂商开始关注长焦性能。华为Pura80系列即将采用“一底双长焦”技术,通过一个传感器实现两个不同的光学变焦焦段,减少对手机内部空间的占用。这项新技术是否能引发国产旗舰手机的新一轮长焦技术革新值得期待。
传金所配资
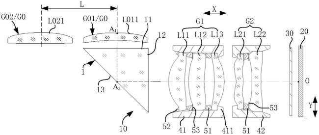
关于“一底双长焦”的讨论始于去年12月,当时有博主曝光国内某品牌正在测试新的长焦方案。华为Pura80系列的预热海报进一步证实了这一技术的存在。专利描述显示,该镜头由前透镜组、可移动转折单元及双后透镜组组成,通过改变光路实现不同焦段。具体来说,镜头具有F1和F2两个有效焦段,其中F1显著大于F2。华为演示视频中展示了3.7x和10x的长焦倍数。

虽然Pura80的光变焦段没有达到之前预测的20倍,但其主要优势在于减少了双潜望镜头对手机空间的挤占传金所配资,通过共用传感器和后透镜组节省空间。类似技术曾在索尼Xperia 1 Ⅲ上出现,但其原理与Pura80有所不同。Xperia 1 Ⅲ的长焦依赖于滑动变焦组的移动,而Pura80则是通过移动折返棱镜实现焦段变化。

此外,连续光学变焦技术也在测试中,预计今年会出现在国产手机上。索尼已经在Xperia 1 IV和Xperia 1 VII上实现了连续光学变焦功能,提供85-170mm的无损光学变焦拍摄能力。这项技术在视频录制时尤其有用,可以避免切换镜头带来的画面变动和对焦丢失问题。然而,连续光变也面临成本高、机械结构复杂等问题。

从一底双长焦到连续光变,手机厂商正向专业相机领域靠拢。未来几年,我们可能会看到更多单反、微单上的镜头技术被移植到手机上,使手机影像真正进入专业领域。尽管新技术还需时间完善,但手机影像的天花板已经被再次打破,普通用户手中的手机越来越接近“口袋相机”。

传金所配资
广盛网提示:文章来自网络,不代表本站观点。